Transparency is the foundation of trust. Below is a digital reproduction of an actual Mill Test Certificate (MTC) for our Lug Type Butterfly Valves, demonstrating our compliance with API 609, ASME B16.34, and material traceability standards.
Digital MTC Document
* The following data represents a real batch inspection record for reference.
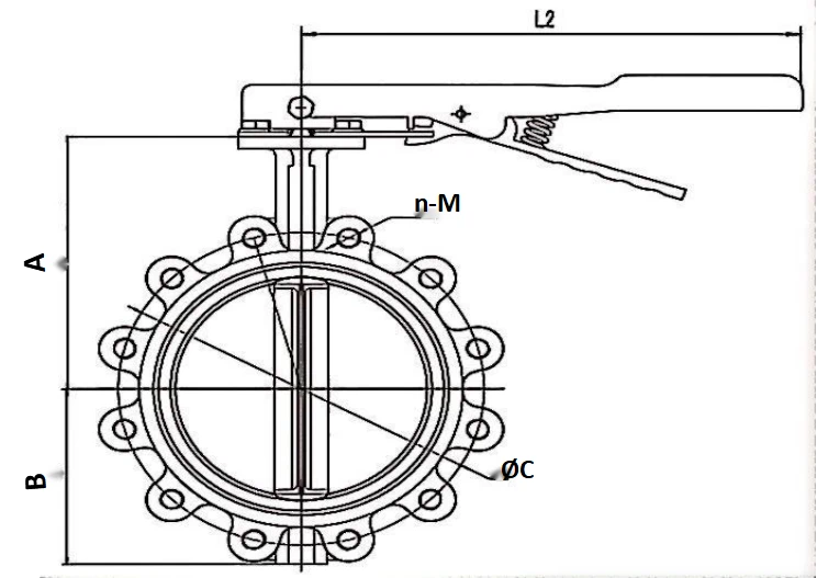
| ITEM | PRODUCT | QTY | SIZE | CL/PN | DIMENSIONS (mm) - Per Drawing | Material | HYDRO TEST (bar) | |||||||
|---|---|---|---|---|---|---|---|---|---|---|---|---|---|---|
| L (F-to-F) | A (Top) | B (Btm) | ØC (PCD) | Body | Stem | Disc | Seat | Shell (24) | Seat (17.6) | |||||
| 1 | Lug Butterfly Valve | 10 | DN150 | PN16 | 55.6 | 185 | 130 | 240 | CF8 | SS410 | CF8 | EPDM | PASS | PASS |
| QTY | SIZE | PART | MATERIAL | HEAT NO. | CHEMICAL COMPOSITION (%) | MECHANICAL PROPERTIES | |||||||||
|---|---|---|---|---|---|---|---|---|---|---|---|---|---|---|---|
| C | Mn | Si | S | P | Cr | Ni | Mo | Yield (Mpa) | Tensile (Mpa) | Elong (%) | |||||
| Standard Req. (ASTM A351 CF8) | ≤ 0.08 | ≤ 1.50 | ≤ 2.00 | ≤ 0.04 | ≤ 0.04 | 18.0-21.0 | 8.0-11.0 | - | ≥ 205 | ≥ 485 | ≥ 35 | ||||
| 10 | DN150 | Body | ASTM A351 CF8 | J-241112 | 0.06 | 1.20 | 0.95 | 0.02 | 0.03 | 19.50 | 9.35 | - | 242 | 525 | 41 |
| 10 | DN150 | Disc | ASTM A351 CF8 | J-241112 | 0.05 | 1.18 | 0.92 | 0.02 | 0.03 | 19.45 | 9.3 | - | 245 | 530 | 42 |
We hereby certify that the materials and products mentioned above have been inspected and tested in accordance with the terms of the order and applicable standards (EN 10204 3.1). The results are found to be in conformity with the specification.
Need help interpreting this data?
Understand the meaning of Heat No., Chemical Composition, and Mechanical Properties in our Ultimate Guide to Butterfly Valve Materials & MTCs.
Why is the EN 10204 3.1 MTC Important?
This document is more than just paperwork; it is the DNA of your valve. For engineers and procurement managers, the 3.1 certificate ensures:
- Material Authenticity: Confirms the Body and Disc are true ASTM A351 CF8 stainless steel with correct Nickel and Chromium levels.
- Process Verification: Proves the valves underwent rigorous Hydrostatic Shell (24 bar) and Seat (17.6 bar) testing per API 598.
- Traceability: The Heat No. (e.g., J-241112) allows us to trace the raw steel back to the original foundry batch.
Need High-Quality Valves with Full Traceability?
Contact our engineering team for a detailed quote and technical documentation.
Contact JRVAL Sales
JRVAL
Nov 21 2025






